21+ loaded dipole antenna calculator
Hall Off-center loaded dipole antennas QST Sept 1974 28-34. Hold the lightbulb and touch the folded dipole move from end point to middle.
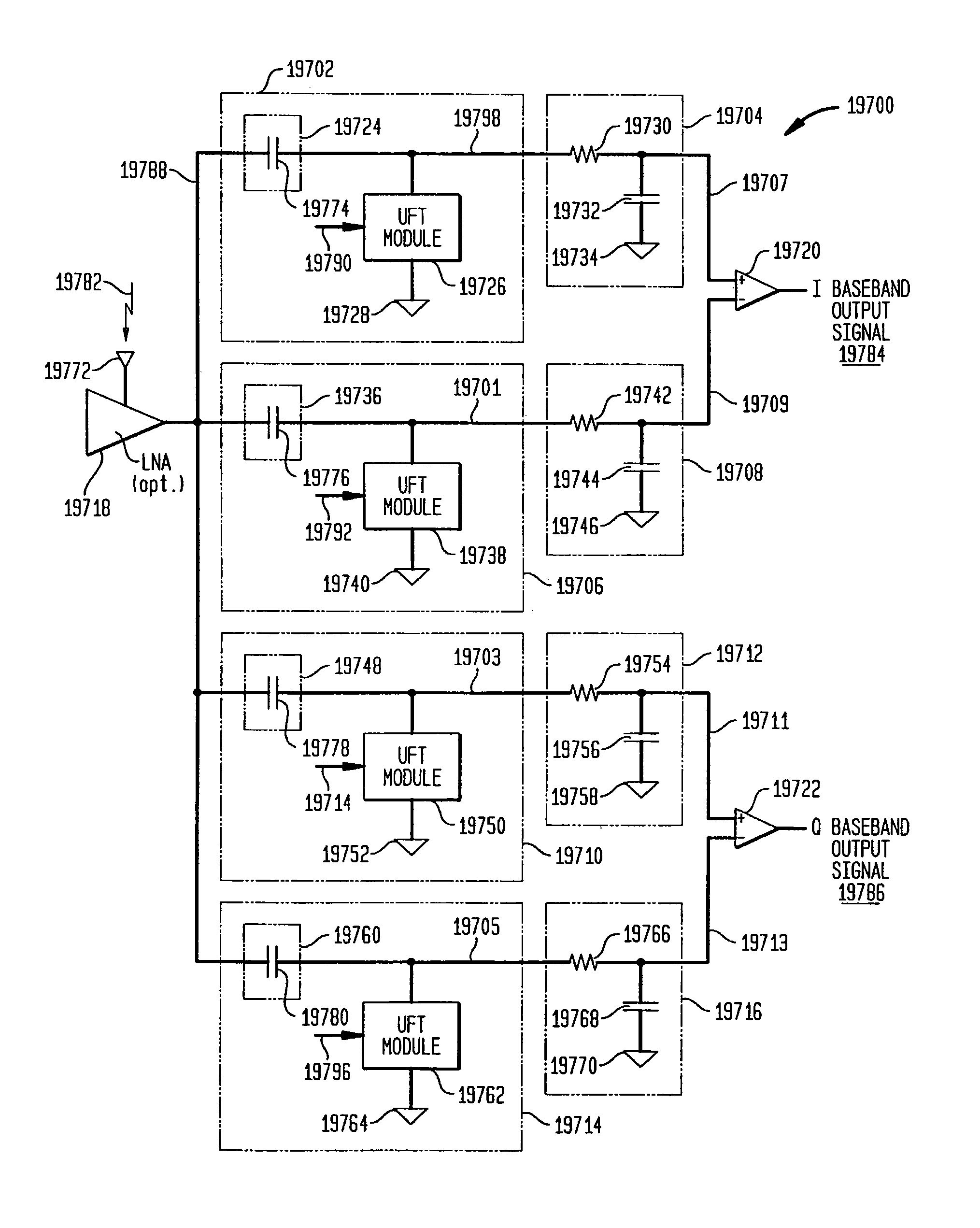
Analytics For Us Patent No 9118528 Method And System For Down Converting An Electromagnetic Signal And Transforms For Same And Aperture Relationships
The calculation refers to either a loaded 14 wave typically a vertical in.

. This page contains an antenna calculator for popular types of ham radio HF antennas. The Wire Size can range from 16 AWG to 12 AWG. My Homemade 40-Meter NVIS Linear-Loaded Dipole for POTA.
The Inverted-Vee tends to be more omni. Dipole Antenna Length Calculator is a handy tool that gives the antenna length dipole leg length wavelength 12 of wavelength and 14 of wavelength detailsThis tool. If the lightbulb goes off in the middle everythimg is ok.
Oct 11 22 1221. The total length L of the dipole antenna is. The wavelength calculators used to calculate the antenna element dimensions will therefore use the speed of light 299792458 meters per second in a vacuum as constant.
In the area on the right of the drawing specify the Center Frequency in MHz for the band you want the antenna to operate in the Length Available for Dimension A and the Wire Size. Build a portable linear-loaded dipole NVIS antenna for 40 meters capable of reaching stations 150 km nearly 100 miles away or more. 143 frequency in MHz.
These are only approximate. The larger the wire the wider the bandwidth. Dipole length in meters.
The method appears to be based on an equation in J. The measurements below are for building a simple Dipole Antenna. My Homemade 40-Meter NVIS Linear-Loaded.
I have in good faith given my best efforts to provide a calculator. The dipole length L is 1561 feet or 476 meters. Dipole length in feet.
Linear Loaded Dipole for 15m and 20m A. At a wavelength of 10 meters the frequency of operation is 30 MHz. 468 frequency in MHz.
Dipole Antenna Length Calculator is a handy tool that gives the antenna length dipole leg length wavelength 12 of wavelength and 14 of wavelength detailsThis tool. The formula for calculating the approximate length of a dipole is. A standard dipole generates a horizontal ratiation pattern in the shape of a figure 8 with maximum radiation broadside to the antenna.
The K5HH Antenna Calculators are for demonstration purposes only and may not reflect actual numbers for your equipment.
80m Mid Loaded Dipole
K7mem Center Fed Half Wave Dipole 3 30 Mhz Resource Detail The Dxzone Com
Antenna Calculator
80m Mid Loaded Dipole
Metallic Impurity Sources Behavior During Icrh In East Sciencedirect
80m Mid Loaded Dipole
Dipole Antenna Calculator Electrical Rf And Electronics Calculators Online Unit Converters
Mpx96 Fm Stereo Transmitter Modifications
Loaded Quarter Wave Antenna Inductance Calculator M0ukd Amateur Radio Blog
Coil Shortened Dipole Antenna Calculator
Coil Shortened Dipole Antenna Calculator Resource Detail The Dxzone Com
Dipole Gif
Dipole Online Calculator 3g Aerial
Download Hf Dipole Calculator 1 2 Wave Wire Dipole Antenna Xtronic
Thesis Vedaprabhu Pdf Antenna Radio Radar
Dipole Antenna Calculator Electrical Rf And Electronics Calculators Online Unit Converters
Antenna Calculator